Urząd Patentowy Rzeczypospolitej Polskiej podjął decyzję o przyznaniu:
- prawa ochronnego nr RWU.72912 na wzór użytkowy pt. „Kurtynowe złoże biologiczne”.
Twórcą pomysłu jest dr inż. Adam Masłoń z Katedry Inżynierii i Chemii Środowiska. -
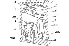
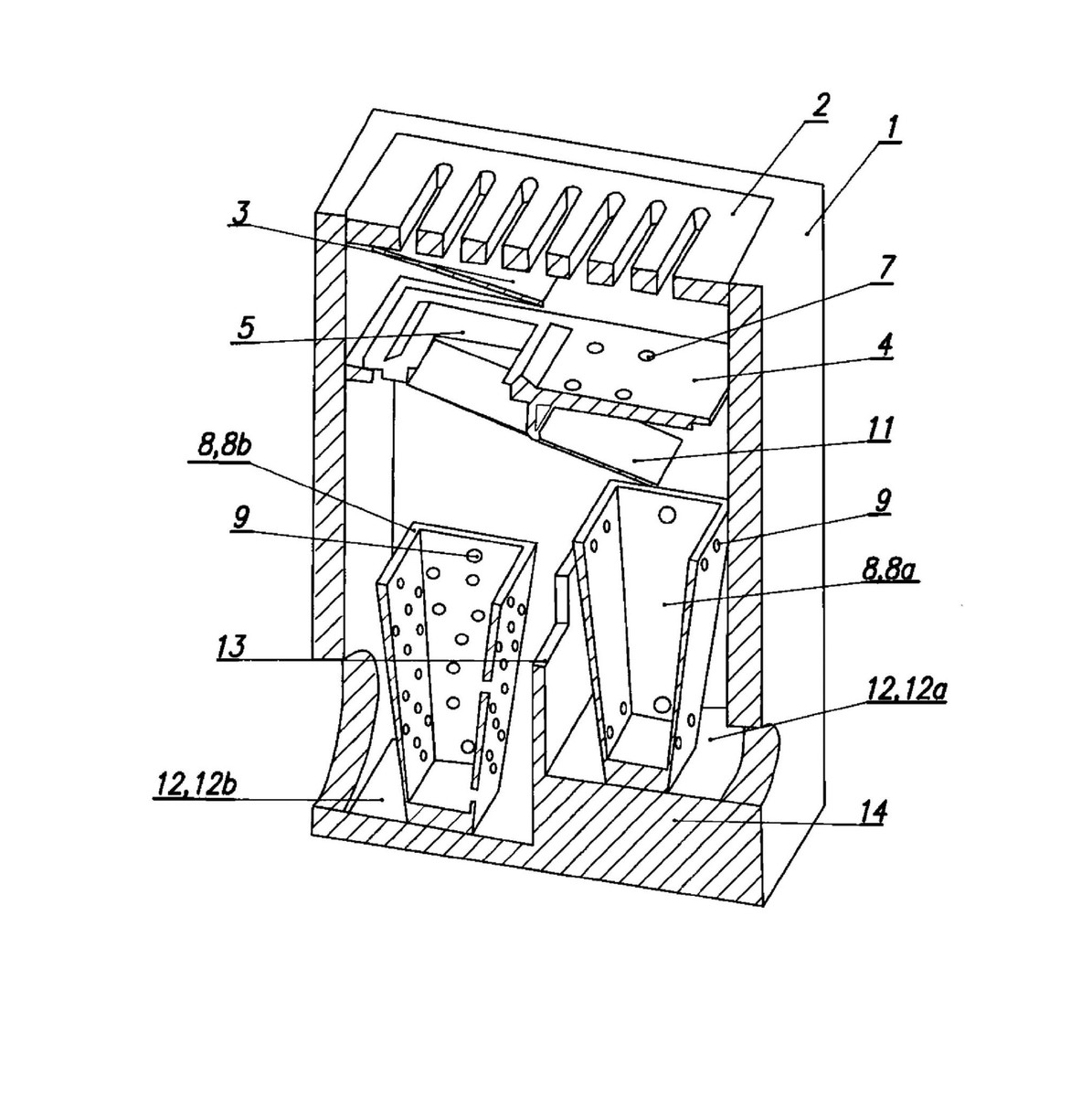
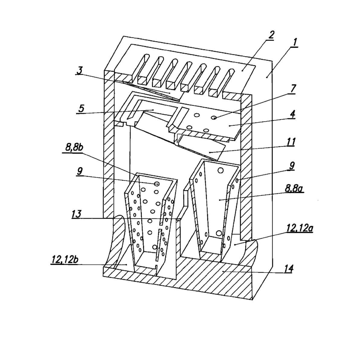
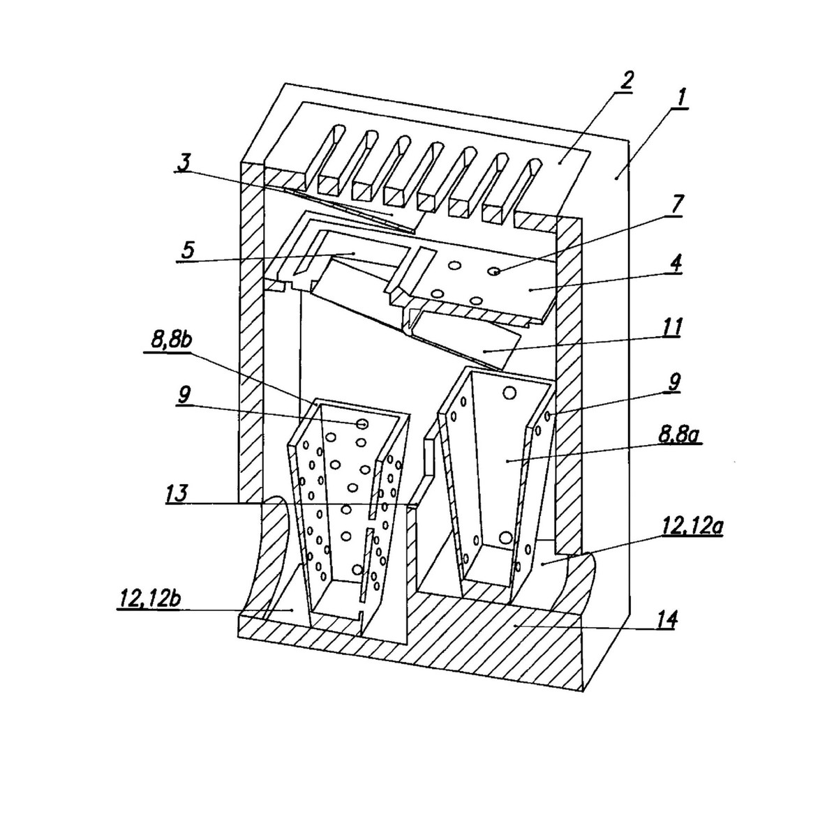
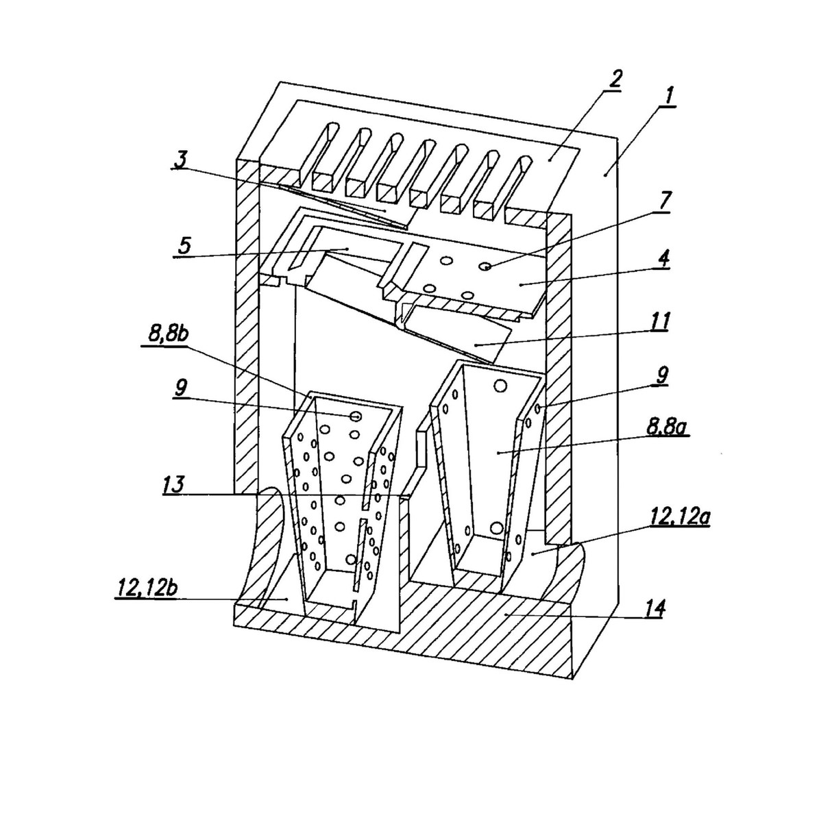
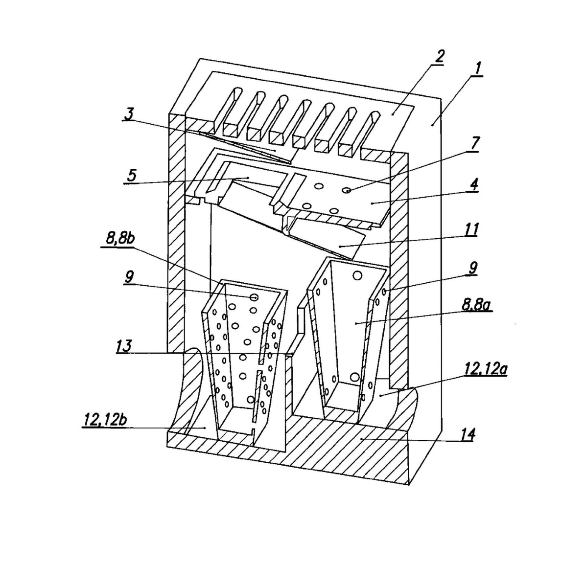
patentu nr P.242464 na wynalazek pt. „Wpust kanalizacyjny”.Twórcami wynalazku są prof. dr hab. inż. Piotr Koszelnik i dr inż. Małgorzata Kida z Katedry Inżynierii i Chemii Środowiska oraz prof. dr hab. inż. Daniel Słyś i dr inż. Kamil Pochwat z Katedry Infrastruktury i Gospodarki Wodnej.
Twórcom serdecznie gratulujemy i życzymy kolejnych sukcesów.





